联系人:赵工
电话:021-32206726
地址:上海市普陀区中江路889号曹杨商务大厦1501-1502
邮编:200333
德国KRACHT溢流阀SPVF 40 C2 F1 A12上海维特锐现货有售
德国KRACHT溢流阀SPVF 40 C2 F1 A12上海维特锐现货有售
德国KRACHT是一家活跃于的中型工程公司,拥有约450名员工。我们的核心竞争力在于开发、制造和销售泵、流体测量、阀门、液压驱动及定制化系统解决方案领域的高品质技术。除持续投入的设备外,我们还拥有全自动化物流中心。公司秉持扁平化管理结构,决策流程有效率且精简,并为员工提供充分的创新空间。
严苛的质量标准是我们广度与深度兼备的产品线取得成功的基石。
德国KRACHT产品主要有:KRACHT齿轮泵、KRACHT输送泵、KRACHT流量计、KRACHT显示器、KRACHT测量仪、KRACHT高压齿轮泵、KRACHT齿轮马达、KRACHT阀等。
德国KRACHT溢流阀SPVF 40 C2 F1 A12上海维特锐现货有售

SPV/SPVF是直动式、滑动活塞式溢流阀。连接于管路中,对低压液压回路的压力进行限定。压力为20(30)bar。连接口可以是SAE(3000psi)法兰口,也可以是惠氏管螺纹口。
KRACHT泄压阀是由针形阀、压力表、主阀、导阀及连接管等部件组成。它是水力控制阀的一种。主阀被隔膜分成上、下两部分,隔膜下腔为水流通道,上腔为控制室,由它来控制主阀阀瓣的启闭。导阀本身就是一个克拉克KRACHT泄压阀,它也有控制室和水流通道,阀瓣启闭由控制室控制。针形阀即节流阀,它控制着连接管中水的流量。

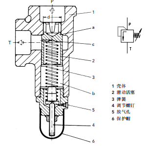
阀体构造:
滑动活塞2在压缩弹簧3作用下压在环形区域a上。因此与泵相通的P口同与油箱相通的R口被直径d处的密封隔离开。一旦工作压力达到由调节螺钉4调定的压力,滑动活塞2开始卸荷液压油至油箱。弹簧腔b由孔c进行压力补偿。开始时,弹簧腔b一定要通过放气孔5(六角螺钉)进行排气。阀垂直安装,使压力调定量垂直向下。该溢流阀有4种压力调节范围,这是因为弹簧的压缩比决定了每种弹簧只能覆盖有限的压力调节范围。
上海维特锐实业发展有限公司,发票随货,服务优良,信誉保证。本公司德国设有分公司,欢迎新老客户有欧美品牌询价都可以随时联系我!
项目支持:
1,德国 KRACHT 克拉克(流量计、指示器可提供现场选型配套技术支持,齿轮泵, 阀,备件采购价格有优势)
2,德国 VSE 威仕 (流量计提供项目选型配套,技术支持,维修)
3,另外还有很多品牌也很有优势:
Beinlich百利泵(可提供选型)
RICKMEIER瑞克梅尔泵(可提供选型)
MEISTER流量计
KOBOLD流量计、温度开关
ATOS液压电磁阀、泵、压力继电器
EATON伊顿/VICKERS威格士泵、阀
REXRTOH力士乐液压阀、叶片泵
HYDAC贺德克过滤器、滤芯、传感器
PARKER派克阀、接头、齿轮泵
WEBTEC流量计
MTS位移传感器
AIGNEP快插接头、气动三联件、气动阀、气缸、流体阀
- 上一篇:没有了
- 下一篇:德国KRACHT齿轮流量计VC 1 H2 P3 P2 HH精度特性及功能描述
