联系人:赵工
电话:021-32206726
地址:上海市普陀区中江路889号曹杨商务大厦1501-1502
邮编:200333
德国KRACHT溢流阀SPVF 40 A1 G1 A12结构特征描述
德国KRACHT溢流阀SPVF 40 A1 G1 A12结构特征描述
KRACHT 有限公司成立于1911年,总部位于德国,至今已有超过100年的悠久历史。KRACHT是世界的流体控制专家,通过其遍布的销售支持、工程网络以及生产基地,实现了生产和产品供应。KRACHT是一家中小型的家族企业,专业从事流体控制产品的生产、研发及销售工作。如今,KRACHT共有员工310多名,总部位于德国韦尔多尔,另外有85名员工在匈牙利的布达佩斯为匈牙利客户提供产品服务。KRACHT产品范围广泛,主要以泵系列产品著称,包括高压輸送泵、齿轮泵、高压齿轮泵、齿轮马达等。KRACHT重视人才的发展,KRACHT认为,优秀的员工才能成就优秀的企业,才能保持企业经久不嘉的生命力。KRACHT提倡激情工作,激励员工创造出创新的产品,不断研发出新的技术。正因为如此,KRACHT产品质量不断提高,性能也越来越好。KRACHT的设计中心的资源和能力可以便KRACHT与客户在产品设计以及产品原型方面密切合作。KRACHT国际生产中心可将这些设计变为现实,并且可以为各地的用户提供及时的供货。所有这些都有助于KRACHT的客户,通过更好的设计、更低的成本以及更好的产品供应能力,来提高自己产品的竞争优势。
德国KRACHT产品主要有:KRACHT齿轮泵、KRACHT输送泵、KRACHT流量计、KRACHT显示器、KRACHT测量仪、KRACHT高压齿轮泵、KRACHT齿轮马达、KRACHT阀等。
德国KRACHT溢流阀SPVF 40 A1 G1 A12结构特征描述

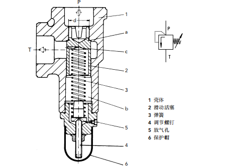
滑动活塞2在压缩弹簧3作用下压在环形区域a上。因此与泵相通的P口同与油箱相通的R口被直径d处的密封隔离开。一旦工作压力达到由调节螺钉4调定的压力,滑动活塞2开始卸荷液压油至油箱。弹簧腔b由孔c进行压力补偿。开始时,弹簧腔b一定要通过放气孔5(六角螺钉)进行排气。阀垂直安装,使压力调定量垂直向下。该溢流阀有4种压力调节范围,这是因为弹簧的压缩比决定了每种弹簧只能覆盖有限的压力调节范围。

SPV/SPVF是直动式、滑动活塞式溢流阀。连接于管路中,对低压液压回路的压力进行限定。压力为20(30)bar。连接口可以是SAE(3000psi)法兰口,也可以是惠氏管螺纹口。
上海维特锐实业发展有限公司,发票随货,服务优良,信誉保证。本公司德国设有分公司,欢迎新老客户有欧美品牌询价都可以随时联系我!
项目支持:
1,德国 KRACHT 克拉克(流量计、指示器可提供现场选型配套技术支持,齿轮泵, 阀,备件采购价格有优势)
2,德国 VSE 威仕 (流量计提供项目选型配套,技术支持,维修)
3,另外还有很多品牌也很有优势:
Beinlich百利泵(可提供选型)
RICKMEIER瑞克梅尔泵(可提供选型)
MEISTER流量计
KOBOLD流量计、温度开关
ATOS液压电磁阀、泵、压力继电器
EATON伊顿/VICKERS威格士泵、阀
REXRTOH力士乐液压阀、叶片泵
HYDAC贺德克过滤器、滤芯、传感器
PARKER派克阀、接头、齿轮泵
WEBTEC流量计
MTS位移传感器
AIGNEP快插接头、气动三联件、气动阀、气缸、流体阀
